Slim. Seamless. Smart.

Minimalist frames built for modern architecture.

Slimline

Series

Minimalism Meets Mastery

Slimline is India’s first single-point fabricated aluminium system that brings seamless visual finesse to modern spaces. For those who demand clean lines, quiet operation, and globally benchmarked quality, this is your frame.

Slimline

Sliding Windows & Doors

Slimline

Casement Windows & Doors

Core Benefits

Features That Frame with Finesse

Engineered with wool pile and gaskets to reduce noise, wind, and dust, ensuring quiet comfort in every slide.

Reinforced interlocks and handles built to handle extreme rain and wind with ease.

Twin-screw overlap construction with custom inserts eliminates vibration, noise, and structural gaps.

Exclusive insert technology prevents water seepage and ensures seamless frame durability.

Extruded tracks hold shutter weight with zero sagging or denting, perfect for long-term performance.

One-way valve caps drain water efficiently while keeping wind and dirt out.

Sliding Track Options

2 Track
3 Track
4 Track
Slimline

SLIDING

  • Sliding Windows

  • Sliding Doors

MyWindow’s Advanced Systems redefine modern living with smart solutions that adapt to your needs offering privacy, weather protection, and space optimization with cutting-edge technology.

Slimline

CASEMENT

  • Casement Windows

  • Casement Doors

MyWindow’s Advanced Systems redefine modern living with smart solutions that adapt to your needs offering privacy, weather protection, and space optimization with cutting-edge technology.

Technical Drawings: Slimline Sliding Series

Interlock Options
Without Reinforcement
With Reinforcement
Handle Section Options
Without Reinforcement
With Reinforcement

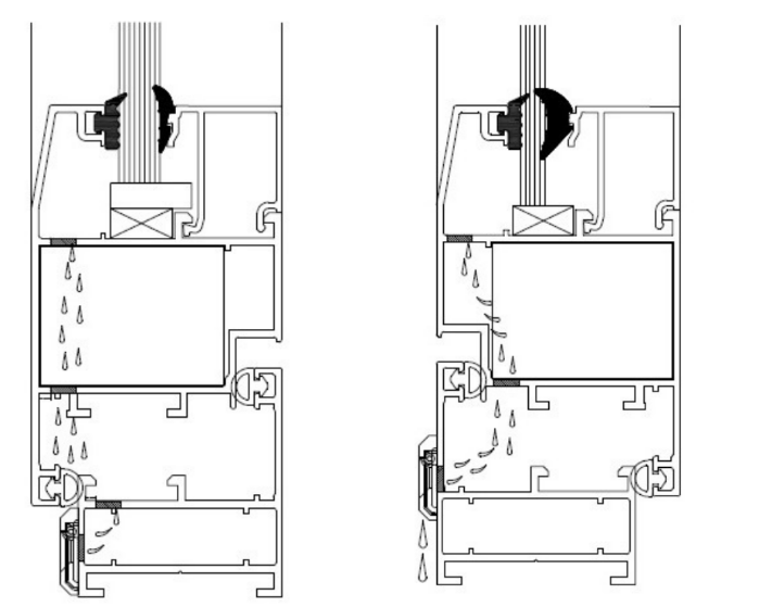
Drainage System

Building Connection

Windows on the FFL & Windows flushed with FFL on inside

Technical Drawings: Slimline Casement Series

Windows
Drainage
Hinges
Doors
Single panel door & Inside / Outside openable
Windows
Tilt & Turn Window & Inside openable

Possible Variations (Slimline Sliding Windows/Doors)

Possible Variations (Slimline Casement Windows/Doors)

Series Resources

Download the complete technical specifications for the Slimline Series including dimensions, performance ratings, glass options, and installation guidelines.

Technical Specification
Casement Window Series C40
Technical Specification
Casement Door Series D40
Technical Specification
Casement Series B 100
Technical Specification
Casement Sliding Series-S66

Explore Every Possibility

Download All Series Catalogue
and Find the Perfect Window for Your World

Let’s Talk Windows. No Pressure, Just Possibilities.

For inquiries or quotations, our team is ready to assist you.